
Giesse 01704 Orijinal Vasistas Pencere Mandalı
Giesse Twin Catch 01704: Vasistas Pencereler İçin Mükemmeliyetin Kodu
Modern mimaride pencere sistemleri, sadece birer yapı elemanı değil, aynı zamanda yaşam alanlarının konforunu, güvenliğini ve enerji verimliliğini belirleyen en kritik unsurlardır. Bir pencerenin kalitesi, profilin sağlamlığı kadar, o profili tamamlayan aksesuarların mühendislik harikası olmasıyla ölçülür. İşte bu noktada, dünya genelinde pencere otomasyonu ve aksesuarları denildiğinde akla gelen ilk isimlerden biri olan Tyman International bünyesindeki Giesse, 01704 kodlu Twin Catch (İkiz Çarpma Mandal) ürünü ile vasistas pencerelerde standartları yeniden belirliyor. Vasistas Pencere Mandalı hakkında merak ettikleriniz için bize 0501 151 60 30 numarasından ulaşabilirsiniz.
Web sitemizde sizlere sunduğumuz Giesse 01704 Vasistas Pencere Mandalı, sıradan bir kapatma mekanizması değildir. O, yıllarca sürecek sorunsuz bir kullanım deneyiminin, sessiz konforun ve estetik bütünlüğün garantisidir.
Giesse Vasistas Pencere Mandalı alüminyum pencerelerinizde üstün yalıtım ve kullanım konforunu bir araya getiren İtalyan mühendislik harikasıdır. “Twin Catch” teknolojisi sayesinde çift yönlü ve dengeli bir kapanma sağlayan bu özel mekanizma, ayarlanabilir baskı (kompresyon) özelliği ile kanadın kasaya tam oturmasını garanti ederek hava ve su sızdırmazlığını maksimum seviyeye çıkarır. Korozyona dayanıklı zamak gövdesi, paslanmaz çelik iç aksamı ve sessiz çalışma prensibiyle uzun yıllar sorunsuz hizmet veren Giesse 01704, hem güvenlik hem de estetiği ön planda tutan projelerin vazgeçilmez çözümüdür.
Vasistas Pencerelerin Görünmez Kahramanı: Twin Catch Teknolojisi
Vasistas (üstten açılır / bottom-hung) pencereler, özellikle banyo, mutfak, ofis ve koridor gibi alanlarda havalandırma ihtiyacını güvenli bir şekilde karşılamak için tercih edilir. Ancak bu pencerelerin en büyük sorunu, zamanla gevşeyen, paslanan veya tam kapanmayarak rüzgar sesi yapan kalitesiz mandallardır.
Projelerinizde Giesse kalitesini tercih ediyorsanız, tedarik sürecinizi profesyonel ellere bırakın. Bay Alüminyum Aksesuar, Giesse 01704 ve diğer tüm aksesuar gruplarında projelerinize özel çözümler ve avantajlı iskontolar sunmaktadır. Teknik destek, numune talebi ve toptan alım teklifleri için satış temsilcilerimizle irtibata geçebilir, işinize değer katacak çözümlerimizle tanışabilirsiniz.
Giesse 01704, “Twin Catch” teknolojisi ile bu sorunları tarihe gömüyor. Ürünün ismindeki “Twin” (İkiz) vurgusu, onun hem sağ hem de sol uyumlu yapısına ve çift yönlü çalışan, dengeli mekanizmasına bir atıftır. Ürün, pencere kanadının kasaya tam olarak oturmasını sağlarken, contalara uyguladığı ideal baskı (kompresyon) sayesinde hava ve su sızdırmazlığını maksimum seviyeye çıkarır.
Bu ürün, sadece pencerenizi kapalı tutmaz; aynı zamanda dış dünyadan gelen gürültüyü, tozu ve soğuk havayı dışarıda bırakarak enerji tasarrufu yapmanıza yardımcı olur. Giesse mühendislerinin geliştirdiği bu özel kilit sistemi, kullanıcıya her kapatışta o tok ve güven veren “klik” sesini duyurarak, işlemin başarıyla tamamlandığını hissettirir.
Üstün Malzeme Kalitesi: Zamak ve Polyamidin Güçlü Uyumu
Bir pencere aksesuarının ömrünü belirleyen en temel faktör, üretiminde kullanılan hammadde kalitesidir. Piyasada bulunan ucuz plastik mandalların aksine, Giesse 01704 hibrit ve yüksek mühendislik ürünü malzemelerin birleşimiyle üretilmiştir.
Pencere sistemlerinizde maksimum performans almak için doğru aksesuar seçimi kritiktir. Giesse 01704 Twin Catch mandalının teknik özellikleri, montaj detayları ve uyumluluğu hakkında aklınıza takılan tüm sorular için Bay Alüminyum Aksesuar uzmanlığına güvenebilirsiniz. Sadece ürün tedariği değil, doğru çözüm ortaklığı sunuyoruz. Projenize en uygun adet ve fiyat çalışmasını yapmak, teknik ekibimizden destek almak için bizimle iletişime geçin; kaliteye profesyonel hizmet farkıyla ulaşın. Giesse Vasistas Pencere mandalı için doğru adrestesiniz.
1. Zamak Gövde (Zinc Alloy)
Ürünün ana taşıyıcı gövdesi ve destek dişlileri, yüksek dayanıklılığa sahip Zamak alaşımından imal edilmiştir. Zamak, darbelere, kırılmalara ve zamanla oluşabilecek deformasyonlara karşı son derece dirençlidir. Bu sayede mandal, yıllar boyunca binlerce kez açılıp kapansa bile ilk günkü formunu korur.
2. Polyamid Temas Noktaları
Metal metale sürtünme, zamanla aşınmaya ve rahatsız edici seslere yol açar. Giesse, bu durumu engellemek için 01704 modelinin kenetleme dişi (coupling tooth) ve alt yuva kısımlarında endüstriyel sınıf Polyamid (Nylon) kullanmıştır. Polyamid, sürtünme katsayısı çok düşük olan, kendinden yağlamalı gibi davranan ve aşırı sıcak-soğuk değişimlerinden etkilenmeyen bir malzemedir. Bu sayede mandalınız sessizce kayar ve kilitlenir.
3. Paslanmaz Çelik (Inox) Vidalar ve Yaylar
Nemli bölgelerde veya banyo gibi ıslak hacimlerde kullanılan pencerelerin en büyük düşmanı korozyondur (paslanma). Giesse Twin Catch 01704’ün iç mekanizmasındaki yaylar ve montaj vidaları tamamen Paslanmaz Çelikten üretilmiştir. Bu özellik, ürünün deniz kenarındaki yapılarda dahi güvenle kullanılabilmesini sağlar.
Teknik Özellikler ve Montaj Kolaylığı
Giesse 01704, sadece son kullanıcıyı değil, aynı zamanda montajı yapacak ustayı da düşünen bir tasarıma sahiptir. Geleneksel mandalların aksine, bu ürünü monte etmek için profilde karmaşık delik delme veya frezeleme işlemlerine gerek yoktur.
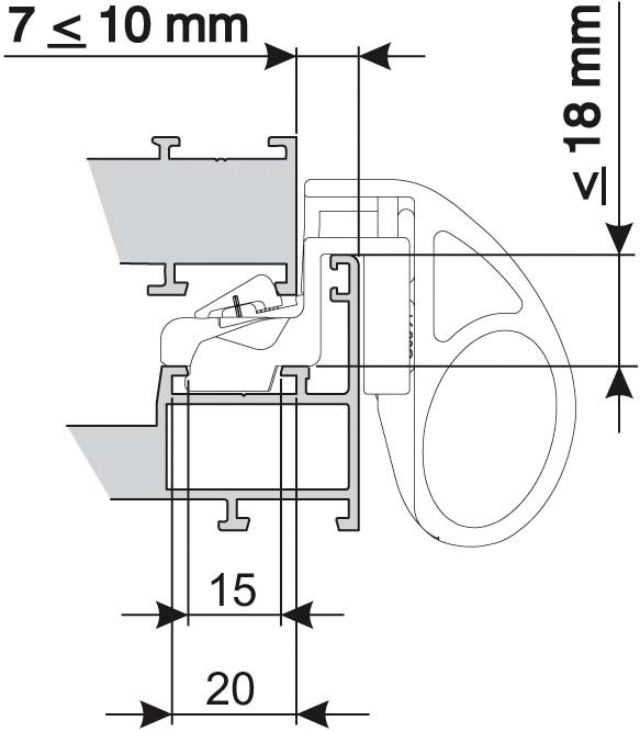
Profil Uyumluluğu: Ürün, Avrupa Kanalı (Euro Groove) standartlarına sahip çoğu alüminyum profil ile tam uyumludur. 7mm ile 10mm arasındaki kanal boşluklarına (step) sahip profillerde sorunsuz çalışır.
Projelerinizde zaman kaybetmeye tahammülünüz yoksa, çözüm ortağınız Bay Alüminyum Aksesuar. Giesse 01704 Vasistas Pencere Mandalı taleplerinizde, güçlü stok yapımız sayesinde beklemeden, en hızlı şekilde ürünlerinize kavuşmanızı sağlıyoruz. Orijinal ürün garantisi, hızlı sevkiyat ve piyasadaki en rekabetçi fiyat tekliflerini duymadan karar vermeyin. Hemen şimdi bizi arayın veya WhatsApp hattımızdan yazın, teklifiniz dakikalar içinde cebinize gelsin.
İşlemsiz Montaj: Ürün, profil kanalına doğrudan yerleştirilir ve üzerindeki paslanmaz çelik setskur vidalar (grub screws) sıkılarak sabitlenir. Bu, profilin bütünlüğünü bozmadan, çok hızlı ve temiz bir montaj imkanı sunar.
Ayarlanabilir Baskı (Kompresyon): Zamanla pencere contaları eskiyebilir veya profil genleşebilir. Giesse 01704, +2.1 mm ile -1.4 mm arasında baskı ayarı yapabilme yeteneğine sahiptir. Bu özellik, pencerenizin her zaman sıkıca kapanmasını ve yalıtım değerlerini korumasını sağlar.
Gövde Yapısı: ABS ve Polikarbonat karışımı manevra mekanizması, hafiflik ve dayanıklılığı bir arada sunar.
Estetik ve Fonksiyonelliğin Buluşması
Giesse, teknik mükemmelliği estetikle birleştirmeyi başaran nadir markalardan biridir. Ürün kodlu Giesse 01704 Twin Catch, modern mimarinin sade ve şık çizgilerine uyum sağlayacak şekilde tasarlanmıştır.
Ürün, pencere üzerinde kaba bir çıkıntı oluşturmaz. Minimalist yapısı sayesinde pencere profiliyle bütünleşir. Ayrıca Giesse‘nin geniş renk skalasıyla (Siyah, Beyaz, Gümüş, Bronz vb.) tam uyum sağlayarak, görsel bir bütünlük oluşturur. Özellikle “Trend” serisi kaplamalarla (Krom satine, Altın, Nikel vb.) lüks projelerde de şıklığı tamamlayan bir detay olarak öne çıkar.
Neden Giesse 01704 Tercih Etmelisiniz?
Piyasada benzer işlevi gören yüzlerce “çarpma mandal” bulunabilir. Ancak Giesse 01704’ü rakiplerinden ayıran temel farklar şunlardır:
Marka Güvencesi: Tyman International gibi global bir devin parçası olan Giesse, ürünlerinin arkasında duran, yedek parça ve teknik destek konusunda asla yarı yolda bırakmayan bir markadır.
Sürdürülebilirlik: Kaliteli bir mandal, pencerenizin ömrünü uzatır. Isı kaybını önleyerek enerji faturalarınızı düşürür. Sürekli bozulan ucuz mandalları değiştirmek zorunda kalmadığınız için uzun vadede bütçenizi korur.
Güvenlik: Vasistas pencereler genellikle ulaşılamaz noktalarda olabilir veya çocuklar tarafından kurcalanabilir. Opsiyonel olarak sunulan “Away Lever” (çıkarılabilir kol) sistemi ile bu mandallar, sadece yetkili kişilerce açılabilir hale getirilebilir (Okullar, hastaneler vb. için idealdir).
Sessiz Konfor: Gece rüzgarında tıkırdayan bir pencere kadar rahatsız edici bir şey yoktur. Giesse 01704, sıkı kavrama yeteneği ile titreşimi ve sesi yok eder.
Kullanım Alanları
Giesse 01704, çok geniş bir kullanım yelpazesine sahiptir:
Konutlar: Banyo ve tuvalet pencereleri, mutfak havalandırmaları.
Ticari Binalar: Ofis plazaları, yüksek katlı binaların havalandırma kapakları.
Kamu Binaları: Okullar, hastaneler ve devlet daireleri.
Endüstriyel Tesisler: Fabrika havalandırma sistemleri.
Bu ürünle alakalı son kullanıcıların genellikle sormuş oldukları soruları ve yanıtları sizler için sitemizde yayınladık..
Giesse 01704 her alüminyum pencereye uyar mı? Bu ürün, “Euro Groove” (Avrupa Kanalı) olarak adlandırılan standart kanallı alüminyum profillerin büyük çoğunluğu ile uyumludur (7-10mm aralığı). Mevcut pencerenizin kanal yapısını kontrol etmeniz veya uzman ekibimize danışmanız yeterlidir.
Orijinal Giesse 01704 Vasistas Mandalına en iyi fiyat garantisiyle sahip olmak için doğru adrestesiniz. Bay Alüminyum Aksesuar güvencesiyle siparişinizi oluşturmak veya toplu alımlarınız için özel teklif istemek adına iletişim kanallarımızdan bize ulaşmayı unutmayın. Ekibimiz size yardımcı olmaktan mutluluk duyacaktır.
Montaj için usta çağırmam gerekir mi? Ürün, “kendin yap” (DIY) mantığına uygun olmasa da, el yatkınlığı olan kişiler tarafından sadece bir alyan anahtarı kullanılarak monte edilebilir. Ancak pencere ayarlarının bozulmaması için profesyonel bir destek almanızı öneririz. Profilde delik delme işlemi gerektirmez.
Ürün paslanır mı? Hayır. Gövdesi korozyona dayanıklı zamak ve polyamid malzemeden, vidaları ise paslanmaz çelikten üretilmiştir. Nemli ortamlarda güvenle kullanılabilir.
“Çarpma Mandal” ne demektir? Pencereyi kapattığınızda otomatik olarak “klik” sesiyle kilitlenen, açmak içinse üzerindeki mandala basıp çekmeniz gereken sistemlere halk arasında çarpma mandal denir. Giesse Twin Catch, bu sistemin en gelişmiş versiyonudur.
Vasistas pencerem tam kapanmıyor, bu ürün sorunu çözer mi? Evet, büyük ihtimalle çözer. Giesse 01704’ün +2.1mm ile -1.4mm arasındaki baskı ayar özelliği sayesinde, gevşemiş veya tam öpüşmeyen kanatları sıkarak tam kapanma sağlar.
Bir çok bağlantının ve ürünün yer aldığı Instagram sayfamızı da incelemenizi öneririz.
Pencereleriniz, evinizin dış dünyaya açılan gözleridir. Bu gözlerin her zaman güvenle kapanıp, ihtiyaç duyduğunuzda kolayca açılmasını sağlamak sizin elinizde. Giesse 01704 , küçük bir parça gibi görünse de, sağladığı konfor, güvenlik ve yalıtım avantajlarıyla devasa bir etki yaratır.
Sıradan çözümlerle zaman kaybetmeyin. İtalyan tasarımı, üstün mühendislik ve yılların getirdiği Giesse tecrübesini pencerelerinize taşıyın. Orijinal Giesse 01704 ürününü en uygun fiyat avantajları ve hızlı kargo seçeneğiyle sitemizden hemen sipariş verebilirsiniz.
Giesse kalitesini şimdi sepetinize ekleyin, pencerelerinizdeki farkı hissedin!
Giesse 01704 Vasistas Pencere Mandalı ihtiyaçlarınızda, en rekabetçi fiyatlar ve hızlı tedarik garantisi için Bay Alüminyum Aksesuar olarak hizmetinizdeyiz. İster bireysel değişimleriniz, ister toplu proje talepleriniz olsun; uzman ekibimizle hemen iletişime geçerek size özel fiyat teklifinizi alabilir ve stok durumunu sorgulayabilirsiniz. Kaliteye en uygun koşullarda ulaşmak için bize şimdi ulaşın

